A654 (400x280)

  • Ciśnienie do 0.1 bar
  • Pionowy
  • Montaż w dennicy górnej (dachu) zbiornika
  • Otwierany na zewnątrz
  • Zdejmowana pokrywa
  • Podwójny docisk
  • Uszczelka w pokrywie

Прямокутний люк A654

Прямокутний люк A654 вертикальний з знімною кришкою. Компактні розміри та міцна конструкція роблять цей люк оптимальним вибором усюди там, де доступ до внутрішньої частини резервуара не потрібен надто часто або коли резервуар працює зі знятою кришкою. Люк дає змогу швидко накрити та герметично закрити оглядовий отвір у разі потреби.

 

Модель розроблена спеціально для монтажу у верхній днищі (даху) резервуарів з нержавіючої та кислотостійкої сталі. Стандартно люк A654 виготовляють з нержавіючої сталі марки AISI 304, а за бажанням — зі сталі марки AISI 316L. Широкий асортимент еластомерів, що застосовуються для виготовлення ущільнень, дає змогу використовувати люк для різних робочих середовищ (рідин, ливкі середовища).

Застосowanie włazu prostokątnego nierdzewnego A654

Основні сфери застосування:

  • харчова промисловість,
  • виробництво напоїв та алкоголю,
  • хімічна та біотехнологічна промисловість,
  • малі резервуари, мішалки тощо.

Люк з успіхом застосовується скрізь, де його використання допускається параметрами матеріалів, з яких він виготовлений.

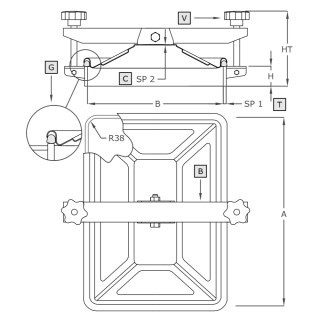
Модель A [mm] B [mm] HxSP1 [mm] HT [mm]* SP2 [mm] Макс. [бар]* Вага [kg]
A654 405 275

50x6**

100x6

155 1.0 0.1 6.5

*Для стандартного виконання (HxSP1 = 50x6 mm).

**Стандартне виконання.

Symbol Element
V ручка
B важіль
C кришка
G ущільнення
T фланець

 

Parametry techniczne

Seria produktowaSeria A
WymiarM (dłuższy bok włazu między 300-500 mm)
KształtWłazy prostokątne
TypBezciśnieniowe
Wysokość kołnierza (w mm)50-100 mm
Grubość ścianki kołnierza (w mm)6.0 mm
Sposób otwieraniaNa zewnątrz
BranżaChemia, Produkcja spożywcza
Sposób montażuw dachu zbiornika
Ciśnienieponiżej 0.5 bar
Podciśnienienie dotyczy
Certyfikat PEDnie
Rodzaj staliAISI 304/304L, AISI 316/316L
Materiał uszczelnieniaEPDM, NBR, Neopren, Silikon, Viton
Materiał pokrętłaTworzywo sztuczne, INOX

Używamy cookies

Używamy plików cookies aby ułatwić Ci korzystanie z naszych stron www, do celów statystycznych oraz reklamowych. Jeśli nie blokujesz tych plików, to zgadzasz się na ich użycie oraz zapisanie w pamięci Twojego urządzenia. Pamiętaj, że możesz samodzielnie zmienić ustawienia przeglądarki tak, aby zablokować zapisywanie plików cookies. Więcej informacji znajdziesz w naszej polityce prywatności.
skontaktuj się z nami