A383 (365x275)

  • Ciśnienie do 0.4 bar
  • Pionowy
  • Montaż poszyciu bocznym zbiornika
  • Otwierany na zewnątrz
  • Podwójny zawias i docisk
  • Uszczelka w pokrywie

Прямокутний люк A383

Прямокутний люк A383 вертикальний з кришкою , що відкривається назовні резервуара. Невеликі габарити та міцна конструкція роблять люк оптимальним рішенням всюди, де необхідно часто відкривати кришку для контролю процесу або роботи вимірювальної апаратури. У разі потреби люк також дає змогу відібрати проби, додати продукт або встановити мийну кулю (монтаж на верхньому днищі).

 

Модель розроблена насамперед для вмонтування в бічну стінку резервуарів з нержавіючої та кислотостійкої сталі. Може також застосовуватися як верхній люк як у резервуарах, так і в інших установках, де потрібна підвищена корозійна стійкість і компактні розміри.

 

Стандартно люк A383 виготовляють з нержавіючої сталі марки AISI 304, а опційно – зі сталі марки AISI 316L. Широкий набір еластомерів, що використовуються для виготовлення ущільнень, дозволяє застосовувати люк з багатьма робочими середовищами (рідинами, розчинами).

Застосування прямокутного люка з нержавіючої сталі A383

Основні напрями застосування:

  • харчова промисловість,
  • виробництво напоїв та алкоголю,
  • хімічна та біотехнологічна промисловість,
  • малі резервуари,
  • вимірювальні камери.

Люк ефективно використовують скрізь, де його застосування відповідає параметрам матеріалів, з яких він виготовлений.

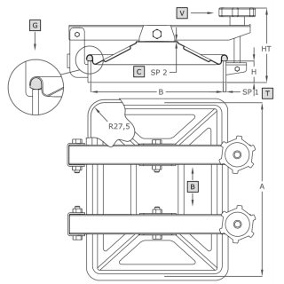
Модель A [mm] B [mm] HxSP1 [mm] HT [mm]* SP2 [mm] Макс. [бар]* Вага [kg]
A383 365 275

50x6**

100x6

170 1.0 0.4 7.25

*Для стандартного виконання (HxSP1 = 50x6 mm).

**Стандартне виконання.

Symbol Element
V ручка
B важіль
C кришка
G ущільнення
T фланець

 

Parametry techniczne

Seria produktowaSeria A
WymiarM (dłuższy bok włazu między 300-500 mm)
KształtWłazy prostokątne
TypBezciśnieniowe
Wysokość kołnierza (w mm)50-100 mm
Grubość ścianki kołnierza (w mm)6.0 mm
Sposób otwieraniaNa zewnątrz
BranżaChemia, Produkcja spożywcza
Sposób montażuw dachu zbiornika, w poszyciu (na boku) zbiornika
Ciśnienieponiżej 0.5 bar
Podciśnienienie dotyczy
Certyfikat PEDnie
Rodzaj staliAISI 304/304L, AISI 316/316L
Materiał uszczelnieniaEPDM, NBR, Neopren, Silikon
Materiał pokrętłaTworzywo sztuczne, INOX

Używamy cookies

Używamy plików cookies aby ułatwić Ci korzystanie z naszych stron www, do celów statystycznych oraz reklamowych. Jeśli nie blokujesz tych plików, to zgadzasz się na ich użycie oraz zapisanie w pamięci Twojego urządzenia. Pamiętaj, że możesz samodzielnie zmienić ustawienia przeglądarki tak, aby zablokować zapisywanie plików cookies. Więcej informacji znajdziesz w naszej polityce prywatności.
skontaktuj się z nami