A381 (225x175)

  • Ciśnienie do 0.7 bar
  • Pionowy
  • Montaż poszyciu bocznym zbiornika
  • Otwierany na zewnątrz
  • Zawias, pojedynczy docisk
  • Uszczelka w pokrywie

Прямокутний люк A381

Прямокутний люк A381 вертикальний з кришкою, що відкривається назовні резервуара. Невеликі габарити та міцна конструкція роблять люк оптимальним рішенням всюди, де потрібно часто відкривати кришку для контролю процесу або вимірювальної апаратури. За потреби люк також дає змогу відібрати проби, досипати продукт або ввести мийну кулю (монтаж у верхньому днищі).

 

Цю модель розроблено насамперед для встановлення в бічній обшивці резервуарів з нержавіючої та кислотостійкої сталі. Її також можна використовувати як верхній люк як у резервуарах, так і в інших установках, де потрібна підвищена корозійна стійкість і компактні розміри.

Стандартно люк A381 виготовляють з нержавіючої сталі марки AISI 304, опційно – зі сталі марки AISI 316L. Широкий вибір еластомерів, що застосовуються для виготовлення ущільнень, дає змогу використовувати люк з різними робочими середовищами (рідинами, розчинами).

 

 

 

Застосування прямокутного люка з нержавіючої сталі A381

Основні напрями застосування:

  • харчова промисловість,
  • виробництво напоїв та алкоголю,
  • хімічна та біотехнологічна промисловість,
  • малі резервуари,
  • вимірювальні камери.

Люк ефективно застосовують усюди, де це дозволяють експлуатаційні параметри матеріалів, використаних для його виготовлення.

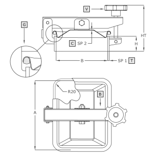
Модель A [mm] B [mm] HxSP1 [mm] HT [mm]* SP2 [mm] Макс. [бар]* Вага [kg]
A381 223 174

50x6**

30x6

100x6

130 1.0 0.7 4.0

*Для стандартного виконання (HxSP1 = 50x6 mm).

**Стандартне виконання.

Symbol Element
V ручка
B важіль
C кришка
G ущільнення
T фланець

 

Parametry techniczne

Seria produktowaSeria A
WymiarS (dłuższy bok włazu poniżej 300 mm)
KształtWłazy prostokątne
TypBezciśnieniowe
Wysokość kołnierza (w mm)30-100 mm
Grubość ścianki kołnierza (w mm)6.0 mm
Sposób otwieraniaNa zewnątrz
BranżaChemia, Produkcja spożywcza
Sposób montażuw dachu zbiornika, w poszyciu (na boku) zbiornika
Ciśnienie0.5 - 2.5 bar
Podciśnienienie dotyczy
Certyfikat PEDnie
Rodzaj staliAISI 304/304L, AISI 316/316L
Materiał uszczelnieniaEPDM, NBR, Neopren, Silikon, Viton
Materiał pokrętłaTworzywo sztuczne, INOX

Używamy cookies

Używamy plików cookies aby ułatwić Ci korzystanie z naszych stron www, do celów statystycznych oraz reklamowych. Jeśli nie blokujesz tych plików, to zgadzasz się na ich użycie oraz zapisanie w pamięci Twojego urządzenia. Pamiętaj, że możesz samodzielnie zmienić ustawienia przeglądarki tak, aby zablokować zapisywanie plików cookies. Więcej informacji znajdziesz w naszej polityce prywatności.
skontaktuj się z nami