C52 (480x370)

  • Ciśnienie 3.0 lub 9.0 bar (w zależności od wersji)
  • Montaż w bocznym poszyciu zbiornika
  • Otwierany do wewnątrz
  • Zawias wewnętrzny
  • Wykonany ze stali nierdzewnej AISI 304 lub AISI 316
  • Materiał uszczelki: EPDM, silikon, NBR lub Viton
  • Grubość ścianki kołnierza: 12 mm

Овальний люк з нержавіючої сталі C52

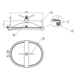
Овальний люк C52 монтується в бічній обшивці резервуарів тискових різного призначення. Кришка люка відкривається всередину резервуара завдяки спеціально спроєктованому внутрішньому завісу.

 

Додаткове опорне плече утримує кришку у відкритому положенні. Велика ширина люка забезпечує вільний доступ до внутрішнього простору резервуара, завдяки чому всі інспекційні та сервісні роботи суттєво спрощуються.

 

Стандартно цю модель комплектують гумовим ущільненням, дозволеним для контакту з харчовими продуктами. Ущільнення розташовано на крайці кришки, а його профіль спроєктовано так, щоб гарантувати максимально надійну герметичність люка. Монтажний фланець овального люка C52, залежно від виконання, може мати дві довжини: 100 mm або 120 mm.

 

Овальні люки C52 - застосування

Овальний люк C52 монтується в резервуарах тискових різного призначення. Основні області застосування цієї моделі люка:

  • харчова промисловість і молочна галузь,
  • виробництво напоїв та алкогольної продукції,
  • переробка овочів і фруктів.

Цей люк також ефективно використовується в таких сферах, як:

  • біотехнологія,
  • хімічна промисловість,
  • виробництво косметики, засобів побутової хімії та багато інших.
Модель A
[mm]
B
[mm]
C
[mm]
DxE
[mm]
Макс.
[bar]
C52/A 100 12 4 394x504 3.0
C52/B 100 12 6 394x504 9.0
C52/C 120 12 4 394x504 3.0
C52/D 120 12 6 394x504 9.0

 

Символ Елемент
1 рама/фланець
2 ущільнення
3 ручка
4 кришка

 

Parametry techniczne

Seria produktowaSeria C
WymiarM (dłuższy bok włazu między 300-500 mm)
KształtWłazy owalne
TypCiśnieniowe
Wysokość kołnierza (w mm)100-120 mm
Grubość ścianki kołnierza (w mm)12.0 mm
Sposób otwieraniaDo wewnątrz
Sposób montażuw poszyciu (na boku) zbiornika
Ciśnienie2.51 - 4.5 bar, powyżej 8.5 bar
Podciśnienienie dotyczy
Certyfikat PEDtak
Rodzaj staliAISI 304/304L, AISI 316/316L
Materiał uszczelnieniaEPDM, NBR, Silikon, Viton
Materiał pokrętłaINOX

Używamy cookies

Używamy plików cookies aby ułatwić Ci korzystanie z naszych stron www, do celów statystycznych oraz reklamowych. Jeśli nie blokujesz tych plików, to zgadzasz się na ich użycie oraz zapisanie w pamięci Twojego urządzenia. Pamiętaj, że możesz samodzielnie zmienić ustawienia przeglądarki tak, aby zablokować zapisywanie plików cookies. Więcej informacji znajdziesz w naszej polityce prywatności.
skontaktuj się z nami