C79 (DN370)

  • Ciśnienie do 0.02 bar
  • Montaż w dachu zbiornika
  • Pokrywa uchylna
  • Pałąk, jednopunktowy docisk
  • Uszczelka w pokrywie
  • Materiał uszczelki: EPDM, silikon, NBR, neopren lub Viton

Круглий люк з нержавіючої сталі C79 (DN370)

Круглий люк з нержавіючої сталі C79 монтується в даху резервуара з нержавіючої сталі. Його відкидна кришка відкривається назовні. Крім того, пласка ділянка на опуклій частині кришки дає змогу встановити дихальний клапан або інше оснащення.

Модель C79 стандартно виготовляється з монтажною рамою (комірцем) висотою 45 mm. Додатково можливе виконання люка з комірцем висотою до 200 mm. Завдяки цьому люк можна встановлювати також у резервуарах з нержавіючої сталі, вкритих теплоізоляцією. Круглий люк C79 зазвичай монтується в резервуарах з нержавіючої сталі, призначених для зберігання різноманітних рідких продуктів, але його успішно застосовують і в різноманітному процесному обладнанні.

 

Зазвичай люк типу C79 встановлюють у резервуарах з нержавіючої сталі, що використовуються в харчовій промисловості, молочній галузі та на підприємствах з переробки овочів і фруктів. Його також застосовують у безтискових промислових апаратах. З успіхом використовується також у косметичній, біотехнологічній, хімічній промисловості тощо.

 

Стандартно люк C79 виготовляють з нержавіючої сталі марки AISI 304, а за потреби – зі сталі марки AISI 316L. Широкий вибір матеріалів, що застосовуються для виробництва ущільнень, дає змогу використовувати люк при контакті з широким спектром робочих середовищ (рідини, чинні).

Застосування круглого люка з нержавіючої сталі C79 (DN370)

Основні сфери застосування:

  • харчова промисловість,
  • виробництво напоїв та алкогольної продукції,
  • хімічна й біотехнологічна промисловість,
  • резервуари з нержавіючої сталі різного об’єму.

Люк ефективно застосовується скрізь, де його використання відповідає параметрам матеріалів, з яких він виготовлений.

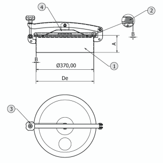
Модель A [mm] B [mm] C [mm] D [mm] E [mm] Макс. [бар]
C79 45 1.5 1.2

370

373 0.02
Symbol Element
1 рама/комірець
2 ущільнення
3 ручка
4 кришка

 

Parametry techniczne

Seria produktowaSeria C
KształtWłazy okrągłe
TypBezciśnieniowe
Wysokość kołnierza (w mm)45 mm
Grubość ścianki kołnierza (w mm)1.5 mm
Sposób otwieraniaNa zewnątrz
WymiarDN300 - DN500
Sposób montażuw dachu zbiornika
Ciśnienieponiżej 0.5 bar
Podciśnienienie dotyczy
Certyfikat PEDnie
Rodzaj staliAISI 304/304L, AISI 316/316L
Materiał uszczelnieniaEPDM, NBR, Neopren, Silikon, Viton
Materiał pokrętłaTworzywo sztuczne, INOX

Używamy cookies

Używamy plików cookies aby ułatwić Ci korzystanie z naszych stron www, do celów statystycznych oraz reklamowych. Jeśli nie blokujesz tych plików, to zgadzasz się na ich użycie oraz zapisanie w pamięci Twojego urządzenia. Pamiętaj, że możesz samodzielnie zmienić ustawienia przeglądarki tak, aby zablokować zapisywanie plików cookies. Więcej informacji znajdziesz w naszej polityce prywatności.
skontaktuj się z nami