A590 (DN300-DN600)

  • Montaż w dachu zbiornika
  • Pokrywa uchylna
  • Centralny docisk pokrywy
  • Wykonany ze stali nierdzewnej AISI 304L lub AISI 316L
  • Uszczelka montowana w pokrywie
  • Materiał uszczelki: EPDM, silikon, NBR lub Viton
  • Dostępne średnice: DN300 / DN380 / DN400 / DN420 / DN500 / DN600

Круглий люк серія A590

Круглий люк серії A590 — це проста й універсальна конструкція з центральним притиском кришки. Вироби цієї серії виготовляють з нержавіючої сталі марок AISI 304 або AISI 316L. Стандартно люк оснащується фіксувальною ручкою з пластику, за бажанням — ручкою INOX.


Люк цього типу монтується у верхньому положенні (на даху) безтискового резервуара.


Широкий діапазон висот монтажних фланців дає змогу встановлювати люки в ізольованих нержавіючих резервуарах.


Кришки люків серії A500 діаметром DN300/400/500/600 мають гладку поверхню. Діаметри DN380/400/420 оснащуються кришками з профілюванням.

Застосування круглого люка з нержавіючої сталі серія A590

Приклади застосувань, у яких ефективно працюють люки серії A590:

  • безтискові резервуари з нержавіючої сталі,
  • промислові камери,
  • технологічне та виробниче обладнання,
  • усі типи безтискових застосувань у середовищі з підвищеними вимогами до корозійної стійкості.
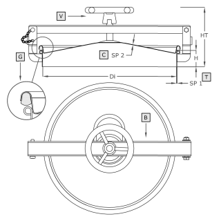
Модель DN [mm] Di [mm] HxSP1 [mm] HT [mm]* SP2 [mm] Макс. [бар]* Вага [kg]
A590 300 295

60x2**

100x2

150x2

200x2

250x2

195 1.0 0.02 4.2
A591 380 375 200 1.0 0.02 5.3
A592 400 395 200 1.2 0.02 5.6
A593 420 415 200 1.2 0.02 6.5
A594 500 505 205 1.2 0.02 7.0
A595 600 600 210 1.5 0.02 9.0

*Для стандартного виконання (HxSP1 = 60x2 mm).

**Стандартне виконання.

Symbol Element
V ручка
C кришка
G ущільнення
T фланець
B важіль

 

Parametry techniczne

Seria produktowaSeria A
KształtWłazy okrągłe
TypBezciśnieniowe
Wysokość kołnierza (w mm)60-250 mm
Grubość ścianki kołnierza (w mm)2.0 mm
Sposób otwieraniaNa zewnątrz
WymiarDN300 - DN500, DN501 - DN700
Sposób montażuw dachu zbiornika
Ciśnienieponiżej 0.5 bar
Podciśnienienie dotyczy
Certyfikat PEDnie
Rodzaj staliAISI 304/304L, AISI 316/316L
Materiał uszczelnieniaEPDM, NBR, Neopren, Silikon, Viton

Używamy cookies

Używamy plików cookies aby ułatwić Ci korzystanie z naszych stron www, do celów statystycznych oraz reklamowych. Jeśli nie blokujesz tych plików, to zgadzasz się na ich użycie oraz zapisanie w pamięci Twojego urządzenia. Pamiętaj, że możesz samodzielnie zmienić ustawienia przeglądarki tak, aby zablokować zapisywanie plików cookies. Więcej informacji znajdziesz w naszej polityce prywatności.
skontaktuj się z nami