Nowość

Właz owalny

W4/A (DN220-DN500)

  • Właz okrągły ciśnieniowy
  • Ciśnienie do 8.0 bar (w zależności od średnicy)
  • Podciśnienie (próżnia): do -1.0 bar
  • Zamknięcie aseptyczne (brzeg pokrywy z wypustami dociskowymi pokręteł)
  • Wykonany ze stali nierdzewnej AISI 304L lub AISI 316L
  • Właz z pokrywą aseptyczną
  • Uszczelka montowana w pokrywie
  • Materiał uszczelki: EPDM, silikon, NBR lub Viton
  • Dostępne średnice: DN220 / DN300 / DN360 / DN400 / DN450 / DN500

Люк з нержавіючої сталі W4/A – основні характеристики

Круглий люк тисковий W4/A виготовляється з нержавіючої сталі марки AISI 304L (1.4307), а також AISI 316L (1.4404) для застосувань, які потребують підвищеної стійкості до впливу навколишнього середовища. Діапазон наявних розмірів від DN220 до DN500, а також параметри тиску полегшують підбір відповідно до розміру резервуара.

 

Стандартні ущільнення, застосовані в люку, виготовляються з EPDM, однак використання інших, додаткових матеріалів ущільнень істотно розширює можливості застосування люка.

Герметичне закривання

Надійне закривання кришки люка у вигляді притискних елементів, постійно підігнаних під виступи, розташовані по краю кришки, забезпечує надзвичайно зручне відкривання та закривання люка.

 

Водночас таке рішення зменшує осідання забруднень у зоні кришки, що гарантує вищий гігієнічний рівень люка.

Кріплення ручок

У люках з нержавіючої сталі W4/A передбачено два варіанти кріплення ручок: 

  • гвинтове,
  • чекове. 

Залежно від версії люка та його тискової стійкості застосовується відповідне кріплення шпинделів, на яких установлюються ручки (деталі див. у вкладці «креслення та розміри»).

Гвинтове кріплення

Чекове кріплення

Тискова стійкість

Тискова стійкість окремих версій люка W4/A залежить насамперед від потрібного діаметра люка та кількості притискних ручок. Усі доступні конфігурації наведені у вкладці «креслення та розміри».

 

Люк W4/A виготовляється відповідно до вимог Директиви про обладнання, що працює під тиском (PED), проте ця модель призначена для менш вимогливих застосувань. Відповідно, паспорт P.E.D. для цієї моделі недоступний.

Кришка та завіса

Опукла форма кришки та полірування її поверхні спрямовані на те, щоб зменшити налипання забруднень, а також полегшити вільний стік рідин.

 

Цю перевагу особливо оцінять користувачі, які змушені часто мити технологічні лінії, щоб підтримувати високі гігієнічні стандарти. 

 

Конструкцію доповнює завіса, яка відповідає за стабілізацію кришки під час її відкривання та закривання, а також ручка, що полегшує цей процес.

Широкі можливості за помірною ціною

Круглий тисковий люк типу W4/A успішно монтується в дахах тискових резервуарів різного призначення. Це можуть бути резервуари з нержавіючої сталі, які використовують:

  • у харчовій промисловості,
  • у виробництві напоїв,
  • у пивоварінні,
  • в обладнанні, що застосовується в енергетиці, хімічній промисловості та багатьох інших галузях.

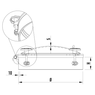
Елементи люка

Symbol Element
P ручка
U ухват

DN220

Модель Діаметр [мм]

H

[mm]

Макс. [бар] Ручки Кріплення ручок
W4/A/220/I 240 100 -1.0/+1.0 3 гвинтове
W4/A/220/II 240 100 -1.0/+5.0 3 чекове
W4/A/220/III 240 100 -1.0/+8.0 4 чекове

DN300

Модель Діаметр [мм]

H

[mm]

Макс. [бар] Ручки Кріплення ручок
W4/A/300/I 320 100 -1.0/+1.0 3 гвинтове
W4/A/300/II 320 100 -1.0/+3.0 3 чекове
W4/A/300/III 320 100 -1.0/+4.0 4 чекове

DN360

Модель Діаметр [мм]

H

[mm]

Макс. [бар] Ручки Кріплення ручок
W4/A/360/I 380 100 -1.0/+1.0 3 гвинтове
W4/A/360/II 380 100 -1.0/+2.5 3 чекове
W4/A/360/III 380 100 -1.0/+5.0 4 чекове

DN400

Модель Діаметр [мм]

H

[mm]

Макс. [бар] Ручки Кріплення ручок
W4/A/400/I 420 100 -1.0/+1.0 4 гвинтове
W4/A/400/II 420 100 -1.0/+3.5 4 чекове
W4/A/400/III 420 100 -1.0/+6.0 6 чекове

DN450

Модель Діаметр [мм]

H

[mm]

Макс. [бар] Ручки Кріплення ручок
W4/A/450/I 470 100 -1.0/+1.0 4 гвинтове
W4/A/450/II 470 100 -1.0/+3.0 4 чекове
W4/A/450/III 470 100 -1.0/+6.0 6 чекове

DN500

Модель Діаметр [мм]

H

[mm]

Макс. [бар] Ручки Кріплення ручок
W4/A/500/I 520 100 -1.0/+1.0 4 гвинтове
W4/A/500/II 520 100 -1.0/+2.0 4 чекове
W4/A/500/III 520 100 -1.0/+4.5 6 чекове

Parametry techniczne

Seria produktowaSeria W
KształtWłazy okrągłe
TypCiśnieniowe
Wysokość kołnierza (w mm)100 mm
Grubość ścianki kołnierza (w mm)10.0 mm
Sposób otwieraniaNa zewnątrz
BranżaBrowarnictwo, Chemia, Farmacja, Mleczarstwo, Produkcja spożywcza
Wymiarponiżej DN300, DN300 - DN500
Sposób montażuw dachu zbiornika
Ciśnienie0.5 - 2.5 bar, 2.51 - 4.5 bar, 4.51 - 6.5 bar, 6.51 - 8.5 bar
Podciśnienieod -0.51 do -1.0 bar
Certyfikat PEDnie
Rodzaj staliAISI 304/304L, AISI 316/316L
Materiał uszczelnieniaEPDM, Silikon, Viton
Materiał pokrętłaINOX

Podobne produkty

Nowość

Właz okrągły

W4/B (DN220-DN500)

Używamy cookies

Używamy plików cookies aby ułatwić Ci korzystanie z naszych stron www, do celów statystycznych oraz reklamowych. Jeśli nie blokujesz tych plików, to zgadzasz się na ich użycie oraz zapisanie w pamięci Twojego urządzenia. Pamiętaj, że możesz samodzielnie zmienić ustawienia przeglądarki tak, aby zablokować zapisywanie plików cookies. Więcej informacji znajdziesz w naszej polityce prywatności.
skontaktuj się z nami